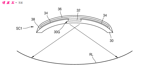
Samsung, juhokórejský gigant si nechal patentovať niečo, čo môžeme zatiaľ vidieť len vo vedecko-fantastických filmoch. Nasadíš si, na prvý pohľad obyčajné šošovky a do normálneho sveta okolo teba pribudnú rôzne dáta, obrazce a modely, s ktorými je možná interakcia v reálnom čase. Ide o rozšírenie reality tvojho sveta. Na rovnakom princípe funguje aj Microsoft HoloLens Dev Kit.

foto: anngle.org
Vaša podpora je pre nás kľúčová. Už od roku 2014 neúnavne prinášame najnovšie informácie o virtuálnej realite, a to všetko zadarmo. Naša redakcia sa snaží osvetliť tieto moderné technológie každému na Slovensku, ale bez vašej pomoci to nebude možné.
Články píšeme s vášňou a odbornosťou, avšak náklady na ich vytváranie a udržiavanie webu rastú. Ak nám chcete pomôcť pokračovať v našej práci a zabezpečiť, aby ste aj naďalej mohli čítať kvalitné články, zvážte prosím jednorazový príspevok alebo podporu cez sociálne siete. Váš príspevok, či už malý alebo veľký, robí rozdiel.
Ďakujeme.












































